ĐỒ ÁN KHAI THÁC HỆ THỐNG LÁI XE KAMAZ-53229

Mã đồ án OTTN003024118
Đánh giá: 5.0
Mô tả đồ án

     Đồ án có dung lượng 310MB. Bao gồm đầy đủ các file như: File bản vẽ cad 2D (Bản vẽ kích thước cơ bản xe Kamaz-53229, bản vẽ sơ đồ hệ thống lái xe Kamaz-53229, bản vẽ kết cấu cơ cấu lái xe Kamaz-53229, bản vẽ sơ đồ nguyên lý làm việc trợ lực lái xe Kamaz-53229, bản vẽ kết cấu bơm dầu xe Kamaz-53229); file word (Bản thuyết minh, nhiệm vụ đồ án, tiến trình đồ án, bìa đồ án…). Ngoài ra còn cung cấp rất nhiều các tài liệu chuyên ngành, các tài liệu phục vụ cho thiết kế đồ án........... KHAI THÁC HỆ THỐNG LÁI XE KAMAZ-53229.

Giá: 990,000 VND
Nội dung tóm tắt

MỤC LỤC

MỤC LỤC....................................................................................................................i

MỞ ĐẦU.....................................................................................................................1

Chương 1 : GIỚI THIỆU VỀ XE KAMAZ – 53229....................................................3

1.1. Giới thiệu chung về xe KAMAZ – 53229.............................................................3

1.2. Đặc tính các cụm và hệ thống chính xe KAMAZ – 53229...................................4

1.2.1. Động cơ............................................................................................................4

1.2.2. Hệ thống truyền lực..........................................................................................4

1.2.3. Phần vận hành..................................................................................................5

1.2.4. Hệ thống lái ......................................................................................................6

1.2.5 Hệ thống phanh.................................................................................................6

Chương 2 : PHÂN TÍCH KẾT CẤU HỆ THỐNG LÁI XE KAMAZ – 53229.............10

2.1. Khái quát chung về hệ thống lái ô tô..................................................................10

2.1.1. Công dụng, cấu tạo và phân loại hệ thống lái ô tô..........................................10

2.1.2. Các yêu cầu cơ bản của hệ thống lái..............................................................14

2.2. Phân tích kết cấu hệ thống lái xe KAMAZ – 53229............................................14

2.2.1. Bố trí và cấu tạo chung hệ thống lái xe KAMAZ – 53229................................14

2.2.2. Kết cấu hệ thống lái xe KAMAZ – 53229.........................................................15

Chương 3 : TÍNH TOÁN KIỂM NGHIỆM HỆ THỐNG LÁI XE KAMAZ – 53229.....33

3.1 Mục đích, nội dung tính toán kiểm nghiệm hệ thống lái.......................................33

3.1.1 Mục đích............................................................................................................33

3.1.2 Các nội dung tính toán......................................................................................33

3.1.3 Thông số đầu vào cho tính toán kiểm nghiệm..................................................33

3.2 Tính toán kiểm nghiệm động học hình thang lái .................................................35

3.2.1 Cơ sở tính toán kiểm nghiệm hình thang lái bằng hình học.............................35

3.2.2 Tính toán kiểm nghiệm hình thang lái bằng phương pháp hình học................37

3.2.3 Kiểm nghiệm động học hình thang lái bằng phương pháp đại số....................39

3.3 Tính bền các chi tiết dẫn động lái .......................................................................41

3.3.1 Xác định mô men cản quay vòng.....................................................................41

3.3.2. Tính bền đòn lái đứng.....................................................................................42

3.3.3. Tính bền thanh lái ngang.................................................................................45

3.3.4. Tính bền thanh lái dọc.....................................................................................47

3.3.5. Tính bền chốt cầu............................................................................................49

Chương 4 : HƯỚNG DẪN KHAI THÁC HỆ THỐNG LÁI XE KAMAZ – 53229......51

4.1. Yêu cầu trong quá trình sử dụng........................................................................51

4.2. Bảo dưỡng kỹ thuật hệ thống lái .......................................................................52

4.2.1. Chế độ bảo dưỡng..........................................................................................52

4.2.2. Một số nội dung kiểm tra điều chỉnh................................................................54

4.3. Sửa chữa hệ thống lái .......................................................................................64

4.3.1. Hư hỏng thông thường, nguyên nhân và cách khắc phục hệ thống lái..........64

4.3.2. Một số hư hỏng chi tiết của các cụm trong hệ thống lái..................................67

KẾT LUẬN................................................................................................................73

TÀI LIỆU THAM KHẢO............................................................................................75

MỞ ĐẦU

Hiện nay sự phát triển mạnh mẽ của nền kinh tế đất nước cho thấy giao thông vận tải đã và đang trở thành một bộ phận quan trọng trong các lĩnh vực của nền kinh tế quốc dân, đặc biệt là nông nghiệp, công nghiệp, lâm nghiệp, xây dựng và quốc phòng. Trong đó ngành vận tải ô tô chiếm một vị trí quan trọng cùng với các phương tiện vận tải khác đang ngày càng phát triển đáp ứng các yêu cầu của nền kinh tế quốc dân.

Ngành ô tô nước ta cho đến nay chủ yếu là khai thác, sử dụng các trang thiết bị ngoại nhập từ nước ngoài. Trong quân đội ta phần lớn sử dụng các loại xe của Liên Xô. Dòng xe KAMAZ – 53229 là một chủng loại xe được sử dụng rất phổ biến ở nước ta trong các lĩnh vực kinh tế, đặc biệt là nông nghiệp, công nghiệp và quốc phòng. Dựa trên xe cơ sở KAMAZ – 53229 người ta thiết kế cho nhiều mục đích sử dụng như trở thành xe tải cẩu, xe tải thùng, xe bồn xăng dầu, xe tưới nước, cứu hỏa. Một số hệ thống, cụm chi tiết trên xe ngày nay đã được cải tiến hiện đại hơn so với các loại xe trước đó của Liên xô.

Việc khai thác có hiệu quả xe KAMAZ – 53229 là một nhiệm vụ rất cần thiết đối với những người làm công tác kỹ thuật, trực tiếp khai thác, sử dụng loại xe này trong điều kện Việt Nam. Để khai thác sử dụng xe tốt và có hiệu quả cao, điều trước tiên là phải nắm chắc được các đặc điểm kết cấu và nguyên lý chung trong bảo dưỡng, sửa chữa ô tô nói chung và các cụm trên xe nói riêng.

Hệ thống lái là một trong những hệ thống quan trọng nhất trên xe. Nó tác động trực tiếp và nhanh chóng đến người lái trong quá trình lái xe. Vì vậy để người lái có thể điều khiển xe thuận lợi, nhẹ nhàng thì việc khai thác nó hiệu quả là việc hết sức cần thiết. Hệ thống lái xe KAMAZ – 53229 là một hệ thống lái điển hình được sử dụng nhiều trên các loại ô tô đầu kéo phổ biến ở Việt Nam.

Đề tài đồ án tốt nghiệp của tôi được giao là “Khai thác hệ thống lái xe KAMAZ - 53229” với các nội dung chính như sau:

Chương 1: Giới thiệu về xe KAMAZ – 53229.

Chương 2: Phân tích kết cấu hệ thống lái xe KAMAZ – 53229.

Chương 3: Tính toán kiểm nghiệm hệ thống lái xe KAMAZ – 53229.

Chương 4: Hướng dẫn khai thác hệ thống lái xe KAMAZ – 53229.

Với sự giúp đỡ, chỉ bảo tận tình của giáo viên hướng dẫn : PGS.TS ………..….,và các thầy giáo trong bộ môn Xe ô tô, sự giúp đỡ của các bạn, cũng như sự nỗ lực tìm tòi, học hỏi, sự phát huy và tổng hợp kiến thức của bản thân. Tôi đã hoàn thành đồ án này.

 Mặc dù đã rất nỗ lực nhưng chắc chắn đồ án sẽ không thể tránh khỏi thiếu sót do hạn chế về mặt kiến thức và kinh nghiệm thực tế. Vì vậy tôi mong được sự chỉ bảo của các thầy, sự góp ý của các đồng chí để tôi hoàn thiện kiến thức trong công tác sau này.

Tôi xin chân thành cảm ơn!

Chương 1

GIỚI THIỆU VỀ XE KAMAZ – 53229

1.1. Giới thiệu chung về xe KAMAZ – 53229

Ô tô KAMAZ – 53229 ( tiếng Nga КамАЗ-53229 ) là một loại xe đầu kéo có tính năng thông qua cao, công thức bánh xe 6x4, được thiết kế và sản xuất bởi nhà máy KAMAZ ở Naberezhnye Chelny . Xe được sản xuất hàng loạt từ năm 1995 đến khoảng năm 2014. Loại xe đầu kéo này được thiết kế để sử dụng  với nhiều mục đích khác nhau như xe tải thùng, xe tải cẩu, xe bồn xăng dầu, xe tưới nước, cứu hỏa…v.v. Ô tô KAMAZ – 53229 có tải trọng không tải 7,2 tấn, tải trọng cho phép đặt lên sát xi dưới 10 tấn.

Hình dáng bên ngoài xe KAMAZ – 53229 được chỉ ra trên Hình 1.1.

Ô tô KAMAZ – 53229 sử dụng động cơ diesel 740.11 – 240 (Euro-2), 4 kỳ, gồm 8 xi lanh sắp xếp kiểu V8, dung tích xi lanh 10,85 lít, turbo tăng áp công suất tối đa 176kW (240 HP) ở số vòng quay 2200 vòng/phút, momen lớn nhất 834 Nm ở số vòng quay 1400 vòng/phút. Trong kết cấu có nhiều điểm khác với các loại xe do nhà máy khác của Liên Xô sản xuất như MAZ, KpAZ…. 

Với những ưu điểm của xe KAMAZ và của riêng KAMAZ – 53229 thì xe KAMAZ – 53229 được sử dụng rất rộng rãi cả trong quân sự và ngoài dân sự.

Các kích thước cơ bản của xe KAMAZ – 53229 được thể hiện trên Hình 1.2.

1.2. Đặc tính các cụm và hệ thống chính xe KAMAZ – 53229

1.2.1. Động cơ

Động cơ kiểu diesel (KAMAZ-740.11-240), 4 kỳ, 8 xy lanh, bố trí hình chữ V, công suất lớn nhất 176 kW(240 mã lực) ở số vòng quay 2200 V/ph, mô men xoắn lớn nhất 834 Nm(85 kG.m) ở 1400V/ph.

Thứ tự làm việc của các xy lanh là 1-5-4-2-6-3-7-8.

1.2.2. Hệ thống truyền lực

Hệ thống truyền lực kiểu cơ khí có cấp, bố trí theo sơ đồ thông qua gồm ly hợp, bộ chia ( hộp số phụ đặt trước hộp số chính), hộp số chính, truyền động các đăng và cầu chủ động.

Ly hợp là kiểu ma sát khô, hai đĩa, thường đóng. Đĩa bị động có giảm chấn xoắn, lò xo ép bố trí xung quanh. Cơ cấu dẫn động của bộ ly hợp là dẫn động mở ly hợp bằng thuỷ lực (thuỷ tĩnh) có trợ lực khí nén.

Bộ chia (hộp số phụ) cấp hai (tỷ số truyền 1 và 0,815), bố trí trước hộp số chính, dẫn động điều khiển bằng khí nén.

1.2.4. Hệ thống lái

Hệ thống lái kiểu cơ khí trợ lực thủy lực gồm cơ cấu lái, dẫn động lái và trợ lực lái.

Cơ cấu lái kiểu vít đai ốc – thanh răng cung răng tỷ số truyền 20 có bộ truyền bánh răng côn tỷ số truyền bằng 1.

Dẫn động lái cơ khí gồm vành lái, cọc lái, trục lái, các đăng trục lái, đòn quay đứng, cam quay, thanh lái dọc, đòn quay ngang, thanh lái ngang và các khớp nối (rôtuyn).

1.2.5 Hệ thống phanh

Hệ thống phanh nhiều dòng độc lập gồm có hệ thống phanh chính, hệ thống phanh tay, hệ thống phanh bổ trợ, hệ thống phanh dự bị.

Hệ phanh chính có cơ cấu phanh kiểu tang trống 2 guốc phanh. Dẫn động phanh khí nén 2 dòng cầu trước, cầu giữa và cầu sau, hệ phanh móoc kiểu hỗn hợp.

Hệ phanh tay có cơ cấu phanh guốc ở bánh xe và dẫn động khí nén.

Hệ phanh bổ trợ (còn gọi là hệ phanh động cơ) cơ cấu phanh kiểu tiết lưu dẫn động bằng khí nén và đặt ở ống xả động cơ.

Thông số kỹ thuật cơ bản của xe KAMAZ – 53229 như abnrg 1.1.

Chương 2

PHÂN TÍCH KẾT CẤU HỆ THỐNG LÁI XE KAMAZ – 53229

2.1. Khái quát chung về hệ thống lái ô tô

2.1.1. Công dụng, cấu tạo và phân loại hệ thống lái ô tô

a. Công dụng

Hệ thống lái ô tô cùng với hệ thống phanh là hệ thống điều khiển ô tô thuộc phần gầm xe, đóng vai trò quan trọng trong việc bảo đảm an toàn chuyển động của xe.

Hệ thống lái của ô tô dùng để thực hiện hai nhiệm vụ sau đây:

+ Dùng để thay đổi hướng chuyển động của ô tô tương ứng với sự điều khiển của người lái xe.

+ Giữ hướng chuyển động xác định của ô tô mặc dù có tác động của các kích thích bên ngoài (gió ngang; góc nghiêng ngang của đường; sự không đồng đều của phản lực tiếp tuyến giữa các bánh xe tại vùng tiếp xúc của chúng với mặt đường) làm cho ô tô có xu hướng lệch khỏi hướng chuyển động đã chọn của lái xe.

b. Cấu tạo chung hệ thống lái ô tô

Hệ thống lái xe ô tô gồm các bộ phận chính: cơ cấu lái, dẫn động lái và trợ lực lái. Trợ lực thường đặt trên các ô tô vận tải vừa và lớn nhằm giảm nhẹ cường độ làm việc của lái xe, và đặt trên các xe du lịch nhằm nâng cao độ an toàn chuyển động khi ô tô chuyển động ở vận tốc cao.

Theo đặc điểm kết cấu, người ta chia hệ thống lái có trợ lực và không có trợ lực.

Trên các ô tô quân sự do hoạt động trong điều kiện đường xấu thậm trí không có đường, để giảm lực điều khiển trên vành lái cũng như làm giảm mệt mỏi cho người lái, trong hệ thống có bố trí thêm trợ lực (thường là trợ lực thủy lực). khi xe được bố trí thêm trợ lực lái có thể cho phép xe chuyển động với vận tốc cao hơn vận tốc trung bình nhất là trên điều kiện đường đất khoảng 18 – 23%. 

Sơ đồ cấu tạo chung của hệ thống lái được thể hiện trên Hình 2.1.

c. Phân loại hệ thống lái

* Phân loại theo phương pháp chuyển hướng của ô tô

- Chuyển hướng 2 bánh xe trên cầu trước.

- Chuyển hướng tất cả các bánh xe (4WD).

- Đổi hướng mô men kéo ở các bánh xe chủ động.

- Kết hợp thay đổi phương chuyển động của các bánh xe dẫn hướng và đổi hướng mô men kéo ở các bánh xe chủ động.

* Phân loại hệ thống lái theo sự có mặt của trợ lực

- Hệ thống lái cơ khí đơn giản không trợ lực.

- Hệ thống lái cơ khí có trợ lực (bằng thủy lực).

* Phân loại theo bố trí vành lái

- Bố trí vành lái bên trái (theo luật đi đường bên trái).

- Bố trí vành lái bên phải (theo luật đi đường bên phải).

* Phân loại theo nguyên tắc hoạt động của bộ trợ lực.

- Hệ thống lái trợ lực cơ khí.

- Hệ thống lái trợ lực khí nén.

- Hệ thống lái trợ lực thuỷ lực.

- Hệ thống lái trợ lực điện.

2.1.2. Các yêu cầu cơ bản của hệ thống lái

An toàn chuyển động trong giao thông vận tải bằng ô tô là chỉ tiêu hàng đầu trong việc đánh giá chất lượng thiết kế và sử dụng phương tiện này. Để đảm bảo tính êm dịu chuyển động trên mọi loại đường, ngoài các yêu cầu chung đối với kết cấu ô tô, hệ thống lái cần phải đảm bảo các yêu cầu riêng sau:

- Bảo đảm quay vòng nhỏ nhất để nâng cao tính linh hoạt cho ô tô.

- Ô tô do người lái điều khiển phải giữ đúng hướng chuyển động theo ý muốn của người lái.

- Đảm bảo động học quay vòng đúng, nghĩa là các bánh xe khi quay vòng không xảy ra trượt ngang.

- Giảm tối thiểu ảnh hưởng đến ổn định của bánh xe dẫn hướng.

- Bảo đảm khe hở tổng cộng trong các cơ cấu của hệ thống và trong dẫn động khi chuyển động thẳng không vượt quá 10 – 200 (tương ứng với góc quay vành lái) và 30 – 40 mm (đo trên vành lái).

2.2. Phân tích kết cấu hệ thống lái xe KAMAZ – 53229

2.2.1. Bố trí và cấu tạo chung hệ thống lái xe KAMAZ – 53229

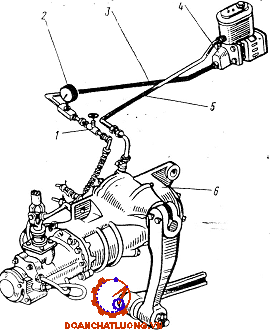
Hệ thống lái xe KAMAZ – 53229 là kiểu cơ khí có trợ lực thủy lực gồm cơ cấu lái, dẫn động lái và trợ lực lái.

Bố trí chung trong hệ thống lái xe KAMAZ – 53229 được thể hiện trên Hình 2.2.

2.2.2. Kết cấu hệ thống lái xe KAMAZ – 53229

a. Cơ cấu lái

* Công dụng:

Cơ cấu lái có nhiệm vụ biến chuyển động quay của vành lái thành dịch chuyển tịnh tiến của dẫn động lái để quay các bánh xe dẫn hướng. Cơ cấu lái dùng để tăng lực tác động của lái xe lên vành lái và truyền qua dẫn động lái đến các bánh xe dẫn hướng.

* Kết cấu cơ cấu lái:

Trên xe KAMAZ - 53229 cơ cấu lái bố trí liền khối với van phân phối, xi lanh lực. Kết cấu cơ cấu lái xe KAMAZ – 53229 được biểu diễn trên Hình 2.3.

Qua Hình 2.3 ta thấy cơ cấu lái xe KAMAZ – 53229 là cơ cấu kiểu vít đai    ốc – thanh răng, cung răng, tỷ số truyền cơ cấu lái là 20, được lắp với dầm dọc trái của khung xe. Đây là loại cơ cấu lái thường được sử dụng cho các loại xe tải hạng trung và nặng. Cơ cấu lái bố trí liền khối với van phân phối, xi lanh lực.

Trên trục vít có 31 viên bi chuyển động tuần hoàn trong rãnh vít và ống dẫn hướng, trong đó có 23 viên tham gia truyền lực, rãnh vít trên trục vít ở vùng giữa được chế tạo để có thể bảo đảm tránh kẹt bi ở khu vực này.

Khi đai ốc dịch chuyển do rãnh vít ở giữa trục vít sâu hơn so với ở đầu trục, tồn tại khe hở không lớn lắm, kết cấu này bảo đảm độ bền cho bộ truyền vít đai ốc và tăng độ ổn định chuyển động của ô tô. Ngoài ra nó còn cho phép lắp ráp trục vít dễ dàng hơn.

b. Dẫn động lái cơ khí

Dẫn động lái cơ khí gồm vành lái, trục lái, đòn quay đứng, cam quay, thanh lái dọc, đòn quay ngang, thanh lái ngang và khớp nối (rô tuyn), trục lái lắp với ca bin xe có kết cấu như Hình 2.5.

Trục lái có phần trên được bắt chặt lên giá lắp trên tấm bên trong buồng lái, phần dưới bắt lên bích ở trên sàn buồng lái. Cột lái được liên kết với cơ cấu lái qua trục các đăng.

Trục cột lái quay được trong ổ bi 4. Khe hở dọc trục trong các ổ trục được điều chỉnh bằng đai ốc 8. Mỡ trong các ổ trục chỉ được thay thế khi tháo dỡ cột lái ra từng bộ phận.

Mối ghép được bịt kín bằng cao su có vòng chặn 9 được giữ trong lồng 7 nhằm để giữ cho mỡ không chảy ra ngoài và không cho bụi bẩn rơi vào mối liên kết.

c. Trợ lực lái

*Công dụng, yêu cầu và cấu tạo chung

Trợ lực của hệ thống lái có tác dụng giảm nhẹ cường độ lao động của người lái, giảm mệt mỏi khi xe hoạt động trên đường dài. Đặc biệt trên xe có tốc độ cao, trợ lực lái còn nhằm nâng cao tính an toàn chuyển động khi xe có sự cố ở bánh xe như nổ lốp, hết khí nén trong lốp và giảm va đập truyền từ bánh xe lên vành tay lái.

Như đã giới thiệu, hệ thống lái trên xe KAMAZ – 53229 kiểu cơ khí có trợ lực thuỷ lực. Vì vậy trong phần này tôi muốn giới thiệu một vài nét chung nhất về trợ lực thuỷ lực của hệ thống lái.

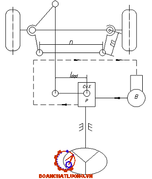
Sơ đồ khối hệ thống lái có trợ lực thủy lực được mô tả trên Hình 2.9.

Xi lanh lực là cơ cấu chấp hành của trợ lực lái, nó có thể được bố trí chung liền khối với cơ cấu lái và van phân phối hoặc bố trí riêng biệt.

Trợ lực lái được chia thành nhiều kiểu và đều gồm 3 bộ phận chính: bơm, van điều khiển và xy lanh lực.

Sơ đồ bố trí các cụm của trợ lực lái trong hệ thống lái ô tô được biểu diễn trên Hình 2.10.

* Kết cấu trợ lực lái trên xe KAMAZ – 53229

Trên xe KAMAZ – 53229 được lắp đặt trợ lực thủy lực thủy động có áp suất cao (75 kG/cm2) nên hiệu quả trợ lực cao, thời gian chậm tác dụng ngắn so với trợ lực khí nén, song yêu cầu về độ chính xác và công nghệ chế tạo cao.

Trợ lực lái thủy lực xe KAMAZ – 53229 cũng bao gồm các bộ phận chính: Bơm dầu (nguồn cung cấp năng lượng), xi lanh lực (cơ cấu chấp hành), van phân phối (phần tử điều khiển). Ngoài ra còn có các đường ống dẫn dầu, két mát dầu.

Bơm được đặt trên thành trái thân động cơ bánh răng dẫn động 1 lắp với trục bơm 5, bằng then bán nguyệt 6 và đai ốc hãm 2, chốt chẻ. Trục bơm quay trên hai ổ, một ổ kim 12 và ổ bi cầu 8. Rôto 38 được nối với trục bơm bằng then hoa, là phần tử chủ động trên nó có 10 rãnh để lắp các phiến gạt, stato 37 có biến dạng ôvan, trên stato có dấu để lắp ráp, để lắp đúng stato trên thân van có chốt định vị. Đĩa phân phối 34 được ép với stato bằng van an toàn lưu lượng và áp suất dầu ở khoang cao áp, có các rãnh để cung cấp dầu vào và ra khỏi khoang dưới phiến gạt, các rãnh cung cấp dầu vào khoang làm việc và từ khoang làm việc đến đường dầu cao áp.

Két làm mát dầu thủy lực nằm trên đường dầu hồi, bố trí trước két làm mát động cơ.

Van phân phối (biểu diễn trên Hình 2.12) được lắp liền khối với cụm cơ cấu lái. Thân 9 của van có 6 lỗ (3 lỗ thông và 3 lỗ không thông), bố trí xung quanh con trượt 7 bố trí ở lỗ giữa được kẹp chặt bởi ổ đỡ chặn và đai ốc. Trục vít của cơ cấu lái liên kết cứng với con trượt có thể dịch chuyển dọc trục 1 - 1,2 mm.

* Nguyên lý làm việc của trợ lực lái xe KAMAZ – 53229

Sơ đồ nguyên lý làm việc của trợ lực lái trên xe KAMAZ – 53229 được biểu diễn trên Hình 2.13.

- Xe chạy thẳng

Khi xe chuyển động thẳng (Hình 2.13.I) người lái không tác dụng làm quay vành lái. Con trượt 20 của van phân phối chiếm vị trí trung gian, nối thông đường dầu từ bơm đến đường dầu cao áp 26 và đường dầu hồi 32. Xi lanh lực sẽ dừng lại ở vị trí trung gian, áp suất dầu truyền đến hai khoang đó là khoang trước 25 và khoang sau 7 của xi lanh lực bằng nhau do đó thanh răng - pít tông không dịch chuyển. 

- Xe quay vòng trái

Khi xe chuyển động quay vòng sang trái (Hình 2.13.III) người lái quay vành tay lái sang trái, lực người lái thông qua trục lái truyền xuống trục vít 15, trục vít chuyển động sang phải, con trượt 20 chuyển động sang phải mở đường dầu vào khoang bên phải của xi lanh lực đồng thời đóng đường dầu vào khoang bên trái của xi lanh lực, dầu có áp suất cao của khoang bên phải của xi lanh lực sẽ đẩy pit tông chuyển động sang trái dẫn động hệ thống lái, dầu ở khoang bên trái của xi lanh lực qua cơ cấu phân phối trở về bình chứa dầu.

- Cảm giác mặt đường

Trong quá trình quay vòng, áp suất trong khoang làm việc của xi lanh lực tăng tỷ lệ với phản lực quay vòng bánh xe, đồng thời áp suất trong khoang của thỏi trụ phản lực 22 cũng tăng khi mô men sức cản quay vòng của bánh dẫn hướng ngày càng tăng thì áp suất trong khoang dưới thoi trụ phản lực càng tăng.

- Khi trợ lực không làm việc

Khi trợ lực không làm việc ví dụ như bơm dầu không làm việc, thì cơ cấu lái vẫn đảm bảo quay các bánh xe như trước, nhưng các phụ tải đã tác động hoàn toàn lên cơ cấu lái và các chi tiết khác. Vì vậy khi khai thác lâu dài với hệ thống lái có trợ lực không làm việc sẽ làm xuất hiện sự mài mòn trước thời hạn và làm sứt mẻ các chi tiết trên, tuy nhiên khi xe đang chạy trên đường mà trợ lực đột ngột bị hỏng thì người lái vẫn có thể điều khiển xe tới nơi mình sửa chữa, hệ thống lái hoạt động cơ khí thuần tuý nên lái xe nặng hơn.

Chương 3

TÍNH TOÁN KIỂM NGHIỆM HỆ THỐNG LÁI XE KAMAZ – 53229

3.1 Mục đích, nội dung tính toán kiểm nghiệm hệ thống lái

3.1.1 Mục đích

Như chúng ta đã biết, hệ thống lái có nhiệm vụ giữ xe chuyển động ổn định theo yêu cầu của người lái, đảm bảo an toàn cho người và hàng hóa trên xe trong quá trình vận chuyển. Vì vậy để đảm bảo điều kiện động học, kiểm tra khả năng quay vòng đúng của hệ thống lái ta tiến hành tính toán kiểm nghiệm các cụm, cơ cấu của hệ thống lái.

3.1.2 Các nội dung tính toán

Tính toán kiểm nghiệm hệ thống lái bao gồm: tính toán kiểm nghiệm động học hình thang lái, tính toán thuỷ lực cho phần trợ lực lái và tính toán kiểm nghiệm bền cho các chi tiết của hệt hống lái.

Các thông số đầu vào cho tính toán kiểm nghiệm dẫn động lái xem Bảng 3.1. Tính bền cho một số chi tiết cơ bản trong hệ thống lái bao gồm tính bền cho các chi tiết trong cơ cấu lái và tính bền các chi tiết cơ bản của dẫn động lái, thông số đầu vào xem Bảng 3.2.

3.1.3 Thông số đầu vào cho tính toán kiểm nghiệm

Các thông số đầu vào xác định theo các tài liệu và trên xe thực được tổng hợp trong các Bảng 3.1 và Bảng 3.2.

3.2 Tính toán kiểm nghiệm động học hình thang lái

3.2.1 Cơ sở tính toán kiểm nghiệm hình thang lái bằng hình học

Để khi quay vòng các bánh xe hai bên không bị trượt ngang thì điều kiện quay vòng lý tưởng là (theo tài liệu [1]):

cotgα - cotgβ = B0/L                                                   (3.1)

Trong đó:

α - góc quay của bánh xe dẫn hướng ngoài [độ]

β - góc quay của bánh xe dẫn hướng trong [độ]

o- khoảng cách giữa 2 trụ đứng                 [mm]

L - Chiều dài cơ sở của xe                           [mm]

Đối với xe KAMAZ – 53229 là loại xe ba cầu có công thức 6x4 với hai cầu chủ động. Nó có cầu giữa và cầu sau gần nhau nên khi kiểm nghiệm hình thang lái có thể tính toán như loại xe 2 cầu.

Trong 2 tam giác GEF và GCB là 2 tam giác đồng dạng cho ta quan hệ giữa 2 góc cotg α và cotg (GBE).

So sánh công thức (3.1) và (3.2) ta thấy góc (GBE) = β

Như vậy qua cách chứng minh theo phương pháp hình học trên cho phép ta kiểm tra động lực học hình thang lái của các hình thang lái có sẵn. Nếu ứng với các cặp αi và βi của công thức (3.1) ta đặt chúng vào vị trí như hình 3.1 thì các giao điểm Ei sẽ phải nằm trên đường GC thì động học hình thang lái đã sẵn có bảo đảm cho xe quay vòng mà các bánh xe 2 bên không bị trượt ngang.

Thực tế các giá trị αi do kết cấu hình thang lái tạo ra không đảm bảo công thức (3.1) nên các bánh xe sẽ bị trượt ngang. Mức độ trượt ngang càng ít khi các giao điểm Ei càng gần đường GC.

3.2.2 Tính toán kiểm nghiệm hình thang lái bằng phương pháp hình học

* Trình tự tiến hành:

1. Vẽ trên giấy kẻ ly các kích thước cơ bản L, Bo , m, n theo đúng tỷ lệ xích.

2. Cho các góc quay của bánh xe bên trong những giá trị βi khác nhau. Bằng phương pháp hình học xác định các góc quay αi tương ứng với bánh xe bên ngoài ( Hình 3.2).

3. Dựng các góc ai  và bi  (Hình 3.3).

4. Kéo dài các cạnh của 2 góc cho chúng cắt nhau tại các điểm Ei.

Nếu các điểm Ei nằm trên hoặc nằm gần đoạn thẳng GC thì ô tô quay vòng với các bán kính khác nhau các bánh xe dẫn hướng không bị trượt bên hoặc có bị trượt bên song không có đáng kể.

* Kết quả kiểm nghiệm hệ thống lái bằng phương pháp hình học của hệ thống lái xe KAMAZ – 53229 được chỉ rõ trên Hình 3.4.

* Kết luận : Qua kiểm tra động học hình thang lái xe KAMAZ – 53229  bằng  phương pháp hình học ta thấy khi ô tô quay vòng các bánh xe dẫn hướng vẫn bị trượt bên nhưng sự trượt bên của bánh xe là nhỏ, như vậy vẫn cho phép sử dụng xe với kết cấu hình thang lái đã có.

3.2.3 Kiểm nghiệm động học hình thang lái bằng phương pháp đại số

Trình tự tiến hành như sau:

Bước 1. Cho các góc quay của bánh xe bên trong những giá trị βi khác nhau.

Bước 2. Bằng phương pháp đồ thị xác định các góc quay αi tương ứng với các bánh xe ngoài hình 3.2.

Bước 3. Xác định các giá trị của hệ số δ­i tương ứng với từng cặp βi và αi theo công thức (3.3).

Bước 4. Các giá trị δi càng gần 1 thì khi ô tô quay vòng với các bán kính khác nhau các bánh xe dẫn hướng không bị trượt bên hoặc có trượt bên song không đáng kể.

*Kết quả tính toán bằng phương pháp đại số :

Theo công thức (3.3)

Khi β1 = 50 ta có α1 = 4,830

Vậy δ1 = 1,001

Khi β2 = 100 ta có α2 = 9,350

Vậy δ2 = 1,006

Khi β3 = 150 ta có α3 = 13,590

 Vậy δ3 = 1,000

Khi β4 = 200 ta có α4 = 17,600

Vậy δ4 = 0,999

Khi β5 = 250 ta có α5 = 21,420

Vậy δ5 = 1,000

Khi β6 = 300 ta có α6= 25,080

Vậy δ6 = 0,9998

Khi β7 = 350 ta có α7= 28,620

 Vậy δ6 = 1,0003

Kết quả tính toán động học hình thang lái xe KAMAZ – 53229 bằng phương pháp đại số được chỉ rõ trên Bảng 3.3.

*Kết luận chung:

Qua kiểm tra động học hình thang lái xe KAMAZ – 53229 bằng 2 phương pháp trên ta thấy khi ô tô quay vòng các bánh xe dẫn hướng vẫn bị trượt bên nhưng sự trượt bên của bánh xe là nhỏ như vậy vẫn cho phép sử dụng xe với kết cấu hình thang lái đã có.

3.3 Tính bền các chi tiết dẫn động lái 

3.3.1 Xác định mô men cản quay vòng

Tính bền cho các chi tiết dẫn động lái ô tô phải xem xét đến vị trí của các chi tiết đó trong dẫn động.

Đối với hệ thống lái có trợ lực cần chú ý vị trí đặt xi lanh lực. Tuỳ theo sơ đồ bố trí các chi tiết của dẫn động lái mà tải trọng tác dụng lên các chi tiết sẽ khác nhau.

* Xác định mô men cản quay vòng

Khi ô tô quay vòng xe xuất hiện mô men cản quay vòng tác dụng lên hệ thống lái. Mô men cản quay vòng khi xác định ta đặt lên tâm quay vòng của trụ đứng, khi tính toán xác định mô men cản quay vòng ở chế độ nặng nề nhất, nghĩa là mô men làm quay bánh xe dẫn hướng từ phải qua trái hoặc từ trái      qua phải.

Các yếu tố ảnh hưởng đến mô men cản quay vòng (Mc):

- Tải trọng phân ra cầu trước (bánh xe dẫn hướng G1)

- Hệ số ma sát lốp và đường

- Kích thước, dạng vết bánh xe với mặt đường

- áp suất lốp, kết cấu hoa lốp, độ cứng ngang của lốp

- Bán kính quay vòng của bánh dẫn hướng

- Các góc đặt trụ đứng, góc đặt bánh xe dẫn hướng

- Mô men ma sát ở trụ đứng và dẫn động lái

Theo ý nghĩa vật lý, công thức xác định mô men cản (Mc) là (theo tài liệu [1]):

Mc = M1 + M2 + M3                                              (3.4)

Ở đây sử dụng công thức gần đúng của Lukin (theo tài liệu [1]):

Mc = G1 . χ (f. a + 0,14 . r. φy)                              (3.5)

Thay các giá trị từ bảng 3.2 vào công thức (3.5) ta có Mc = 348,684 [kGm]

3.3.2. Tính bền đòn lái đứng

Đòn lái đứng được kiểm tra bền theo ứng suất kéo tương đương và ứng suất xoắn tại tiết diện nguy hiểm, sơ đồ tính toán đòn lái đứng được biểu diễn trên Hình 3.6.

Lực tác dụng lên đòn lái đứng xe KAMAZ - 53229 được xác định theo công thức (theo tài liệu [1]):

Thay số vào công thức (3.8) ta có: Wu = 31,687 [cm3]

Mà mô men chống xoắn được xác định bằng công thức (theo tài liệu [1]):

Wx = α . h . b2       [cm3]                                        (3.9)

Thay số vào (3.9) ta có: Wx = 32,379  [cm]

Thay các giá trị tìm được vào công thức (3.7) σ  = 582,90 [kG/cm2]

- Ứng suất xoắn tại điểm B:

Thay số vào công thức (3.10) ta có: τ = 729,81 [kG/cm2]

Đòn lái đứng làm bằng thép cacbon trung bình 45 tôi và ram có: [σ] = 2800 [kG/cm2], [τ] = 800 [kG/cm2]

Hệ số an toàn nσ = 1,50;   nτ = 1,27

* Kết luận:

Qua tính toán ta thấy σ < [σ]; τ < [τ]: Vậy đòn lái đứng đảm bảo bền.

3.3.3. Tính bền thanh lái ngang

Thanh lái ngang được kiểm tra bền theo ứng suất kéo tương đương và ứng suất xoắn tại tiết diện nguy hiểm, sơ đồ tính toán thanh lái ngang được biểu diễn trên Hình 3.7.

Pmax - Lực lớn nhất tác dụng lên vành tay lái Pmax = 45 [kG]

R - Bán kính vành tay lái R = 275                            [mm]

n - Chiều dài thanh lái ngang n = 1665                               [mm]

Thay số vào công thức (3.11) ta có giá trị Pđ là: 148,65 [kG]

Mà mô men chống xoắn được xác định bằng công thức (theo tài liệu [1]):

Wx = α . h . b2  [cm3]                                             (3.14)

Thay số vào (3.14) ta có: Wx = 29,89 [cm3]

Thay các giá trị tìm được vào công thức (3.12):  σ = 76,08 [kG/cm2]

- Ứng suất xoắn tại điểm B:

Pđ - Lực tác dụng lên thanh lái ngang Pđ = 148,65 [kG]

c - Cánh tay đòn gây xoắn: c = 7,5   [cm]

Wx- Mô men chống xoắn: Wx = 29,89 [cm3]

Thay số vào công thức (3.15) ta có:: τ = 37,30   [kG/cm2]

Thanh lái ngang làm bằng thép cacbon trung bình 45 tôi và ram có:: [σ] = 2800 [kG/cm2], [τ] = 800 [kG/cm2]

Hệ số an toàn nσ = 1,50; nτ = 1,27

* Kết luận:

Qua tính toán ta thấy σ < [σ]; τ < [τ]: Vậy thanh lái ngang đảm bảo bền.

3.3.4. Tính bền thanh lái dọc

Thanh lái dọc được kiểm tra bền theo ứng suất kéo tương đương và ứng suất xoắn tại tiết diện nguy hiểm, sơ đồ tính toán thanh lái dọc được biểu diễn trên Hình 3.8.

Lực tác dụng lên Thanh lái dọc xe KAMAZ - 53229 được xác định theo công thức (theo tài liệu [1]).

Pmax - Lực lớn nhất tác dụng lên vành tay lái Pmax = 45 [kG]

R - Bán kính vành tay lái R = 275 [mm]

Lđ - Chiều dài thanh lái dọc Lđ = 1760  [mm]

Thay số vào (3.16) ta có giá trị Pđ là: 140,63 [kG]

Thay số vào công thức (3.18) ta có: Wu = 15,19  [cm3]

Mà mô men chống xoắn được xác định bằng công thức (theo tài liệu [1]): 

Wx = α . h . b2       [cm3]                                        (3.19)

Thay số vào (3.19) ta có:  Wx = 22,42 [cm3]

Thay các giá trị tìm được vào công thức (3.17): σtđ = 127,7 [kG/cm2]

- Ứng suất xoắn tại điểm B:

Pđ - Lực tác dụng lên thanh lái dọc Pđ = 140,63 [kG]

c - Cánh tay đòn gây xoắn: c = 7,5  [cm]

Wx- Mô men chống xoắn: Wx = 22,42 [cm3]

Thay số vào công thức (3.20) ta có: τ = 47,04  [kG/cm2]

Thanh lái dọc làm bằng thép cacbon trung bình 45 tôi và ram có: [σ] = 2800 [kG/cm2], [τ] = 800 [kG/cm2]

Hệ số an toàn nσ = 1,50 ;  nτ = 1,27

*Kết luận:

Qua tính toán ta thấy σ < [σ]; τ < [τ]: Vậy thanh lái dọc đảm bảo bền.

3.3.5. Tính bền chốt cầu

Chốt cầu được sử dụng để làm khớp nối giữa các thanh với các đoạn của dẫn động lái.

Chốt cầu thanh kéo dọc thường chịu tải lớn hơn chốt cầu thanh kéo ngang. Thực tế để đơn giản cho thiết kế và công nghệ chế tạo, đồng thời đảm bảo yêu cầu thống nhất hóa cao của ô tô, người ta chế tạo các chốt cầu với kích thước như nhau.

Đường kính mặt cầu của chốt được chọn sơ bộ, với ô tô KAMAZ – 53229. Trọng lượng phân bố lên cầu trước là 6000 [kG]. Chọn đường kính mặt cầu của chốt là 45 [mm]. Sau đó kiểm tra mặt cầu theo áp lực riêng (áp suất) cho phép. áp lực riêng cho phép trên cầu của chốt không vượt quá 250 - 350 [kG/cm2].

Chân chốt cầu tại vị trí tiếp xúc với thành lỗ thanh kéo được kiểm tra uốn và cắt.

Chương 4

HƯỚNG DẪN KHAI THÁC HỆ THỐNG LÁI XE KAMAZ – 53229

4.1. Yêu cầu trong quá trình sử dụng

Trên cơ sở nắm vững đặc điểm cấu tạo, nguyên lý làm việc của hệ thống lái trên xe trong quá trình khai thác sử dụng, khi bảo quản, bảo dưỡng, sửa chữa cần tuân thủ một số yêu cầu sau đây:

Trong quá trình sử dụng phải thường xuyên kiểm tra mức dầu trong trợ lực,  thông  rửa các phần tử lọc của  bơm,  thường  xuyên  kiểm  tra  độ  kín  khít  của       

các mối ghép và đường ống trong trợ lực.

Không tự ý tháo các bộ phận chính như van phân phối, bơm dầu, cơ cấu lái, vì các chi tiết của các bộ phận này được chế tạo rất chính xác (1/1000mm) cho nên chỉ cần một chút cát bụi lọt vào hay một vết xước nhỏ là có thể dẫn đến hư hỏng cả bộ phận đó. Vì vậy khi tháo lắp các chi tiết của các bộ phận này phải đảm bảo vệ sinh công nghiệp sạch sẽ và đòi hỏi tay nghề thợ cao.

Khi dừng, đỗ xe không nên rú ga nhanh vì như vậy sẽ làm cho áp suất dầu trong hệ thống tăng cao đột ngột, dầu nóng quá sẽ làm hư hỏng các bộ phận của bơm hoặc vỡ các đường ống dẫn dầu.

4.2. Bảo dưỡng kỹ thuật hệ thống lái

4.2.1. Chế độ bảo dưỡng

Mục đích của bảo dưỡng là giữ gìn bề ngoài của hệ thống, làm giảm sự hao mòn nhanh chóng của các chi tiết phòng ngừa các hư hỏng có thể xảy ra do đó có thể kéo dài thời gian phục vụ của ô tô nói chung, hệ thống lái nói riêng. Các công việc của bảo dưỡng được thực hiện theo định kỳ, theo một biểu đồ           kế hoạch đã được lập trước.

Bảo dưỡng hệ thống lái cũng tuân thủ theo đầy đủ các cấp bảo dưỡng kỹ thuật của ô tô là:

- Bảo dưỡng thường xuyên.

- Bảo dưỡng cấp I.

- Bảo dưỡng cấp II.

* Bảo dưỡng thường xuyên

Hàng ngày trước khi đi công tác, hoặc khi dừng, nghỉ dọc đường hoặc sau mỗi chuyến công tác về phải kiểm tra sự rò rỉ của hệ thống, kiểm tra các vị trí lắp ghép, xem các ốc có lỏng ra không và có còn chốt chẻ. Kiểm tra sự làm việc của hệ thống lái xem có bị kẹt không, kiểm tra mức dầu trong trợ lực lái và      cơ cấu lái nếu thiếu thì bổ sung. Kiểm tra độ rơ vành tay lái.

* Bảo dưỡng II (sau 20.000 km)

Làm đầy đủ các nội dung của bảo dưỡng I và làm thêm một số nội dung sau:

- Kiểm tra độ rơ trụ đứng, cam quay vòng.

- Kiểm tra dầu và nếu cần thiết thì thay dầu trong hệ thống trợ lực và cơ cấu lái.

- Kiểm tra và điểu chỉnh độ rơ các khớp cầu của các thanh lái và bơm mỡ đầy đủ vào các khớp.

- Thông rửa các phần tử lọc của bơm, kiểm tra áp suất trong hệ thống của   trợ lực và sự làm việc của van phân phối.

*Yêu cầu kỹ thuật sau khi bảo dưỡng hệ thống lái của ô tô

Sau bảo dưỡng, tiến hành thử xe và kết hợp kiểm tra tình trạng kỹ thuật của hệ thống lái.

Yêu cầu: Toàn bộ hệ thống phải sạch sẽ, các bộ phận các cụm chi tiết phải đồng bộ, lắp ghép chắc chắn, phải có đủ ốc hãm, chốt hãm.

Đánh tay lái nhẹ nhàng, linh hoạt, vành tay lái phải tự động trả về vị trí xe  đi thẳng sau khi không còn tác động lực trên vành tay lái.

4.2.2. Một số nội dung kiểm tra điều chỉnh

Trong công việc bảo dưỡng xe có rất nhiều nội dung cần thực hiện như   kiểm tra điều chỉnh, sửa chữa, thay thế các chi tiết…Trong phần này em tập trung vào nội dung kiểm tra điều chỉnh các chi tiết thuộc hệ thống lái.

Độ an toàn chuyển động của ô tô phụ thuộc vào nhiều hành trình tự do của vành tay lái. Việc kiểm tra hệ thống lái được bắt đầu từ việc xác định áp suất dầu trong trợ lực và hành trình tự do vành tay lái sau đó kiểm tra và điều chỉnh cơ cấu lái.

a. Kiểm tra độ rơ tổng hợp trên vành tay lái (biểu diễn trên Hình 4.1)

Độ rơ tổng hợp trên vành tay lái là khoảng dịch chuyển của vành tay lái (khi chịu lực tác dụng) mà chưa có tác dụng làm đổi hướng của hai bánh xe dẫn hướng.

*Phương pháp kiểm tra:

Để đo độ rơ tổng hợp trên vành lái cần chuẩn bị đầy đủ các dụng cụ, kê kích cầu trước cùng với bộ thước đo chuyên dùng. Trị số độ rơ vành tay lái được xác định bằng dụng cụ đo chuyên dùng khi các bánh dẫn hướng ở vị trí xe chuyển động thẳng.

*Cách tiến hành như sau:

Kích cho hai bánh xe dẫn hướng lên khỏi mặt đất rồi kê chèn ô tô chắc chắn. Đánh tay lái đưa hai bánh xe dẫn hướng về vị trí xe chuyển động thẳng. Gá kim của dụng cụ đo vào vành tay lái và thang đo của dụng cụ vào vỏ trục tay lái. Từ từ đánh tay lái về một bên, khi thấy bánh xe dẫn hướng chuẩn bị dịch chuyển thì dừng lại, chỉnh thang đo của dụng cụ sao cho kim chỉ vào số "0" trên thang. 

b. Kiểm tra và điều chỉnh khớp cầu thanh lái ( biểu diễn trên Hình 4.3)

* Kiểm tra: Đỗ xe trên nền cứng, kéo chặt phanh tay, đánh tay lái đưa hai bánh xe dẫn hướng về vị trí tương ứng chuyển động thẳng của ô tô. Người kiểm tra tay phải cầm chắc đầu thanh lái dọc, hộ khẩu tay tiếp giáp đầu dưới của tay quay đứng (Hình 4.3). 

* Điều chỉnh: Dùng kìm tháo chốt chẻ, dùng cờ lê chữ Z vặn ốc điều chỉnh vào đến chặt, sau đó nới ra từ 1/8, 1/4 đến 1/2 vòng ren (tuỳ từng loại xe). Kiểm tra lại độ rơ nếu đã đạt yêu cầu thì lắp chốt chẻ. Các khớp cầu còn lại điều chỉnh tương tự ( biểu diễn trên Hình 4.4).

e. Kiểm tra và điều chỉnh độ chụm bánh xe dẫn hướng ( biểu diễn trên Hình 4.6)

Độ chụm của bánh xe dẫn hướng là hiệu số của hai khoảng cách đo phía sau và phía trước trục cầu trước giữa hai bánh xe dẫn đường. Vị trí đo trên hai má lốp (hoặc hai vành sắt) cùng nằm trên mặt phẳng nằm ngang đi qua tâm trục cầu trước khi hai bánh xe dẫn hướng ở vị trí đi thẳng.

Ký hiệu độ chụm: δ

δ = A - B

Trong đó:

δ- Độ chụm bánh xe dẫn hướng [mm].

A- Khoảng cách giữa hai má lốp (hoặc vành sắt) đo ở phía sau.

B- Khoảng cách giữa hai má lốp (hoặc vành sắt) đo ở phía trước.

* Điều chỉnh độ chụm bánh xe dẫn hướng

Tuy kết cấu cụ thể của cơ cấu hình thang lái, người ta có các cách khác nhau để điều chỉnh độ chụm. Song cơ bản việc điều chỉnh độ chụm thường được thực hiện bằng cách thay đổi chiều dài thanh lái ngang, muốn điều chỉnh độ chụm ta dùng dụng cụ nới ốc hãm đầu thanh lái ngang phía có bước ren lớn rồi tháo ốc hãm khớp cầu, đưa đầu thanh lái ra khỏi càng quay. Căn cứ vào bước ren ở đầu thanh lái ngang và trị số độ chụm cần thay đổi mà vặn đầu thanh lái ngang theo chiều vặn ra hoặc vặn vào một số nguyên lần vòng ren.

g. Kiểm tra và thay dầu trợ lực

 Khi kiểm tra mức dầu trong trợ lực thì xe phải đặt ở vị trí chuyển động thẳng trên đường bằng. Khi tháo nút xả dầu của bầu dầu phải cọ rửa nắp bằng xăng, nếu lưới lọc bị lắng cặn bẩn phải dùng thêm chất hòa tan để rửa.

Trước khi thay thế dầu trong hệ thống trợ lực cần phải giải phóng hệ thống lái bằng cách:

+ Nâng cầu trước xe cho tới khi bánh dẫn hướng không tiếp đất.

+ Tháo nút xả dầu ở đáy bầu dầu, dầu trong hệ thống sẽ chảy ra ngoài. Muốn tháo kiệt dầu trong hệ thống trợ lực thì sau khi dầu ngừng chảy đánh vành tay lái sang 2 phía vài lần.

- Kiểm tra sự làm việc của van phân phối

Để kiểm tra sự làm việc của van phân phối phải tháo thanh lái dọc, mở van bi, xoay vành lái hết cỡ về một phía. Khi số vòng quay của động cơ là 1000 vòng/phút và đặt lực đặt lên vành tay lái lơn hơn 10 kG. Khi ta giảm lực đặt lên vành tay lái thì áp suất chỉ trên đồng hồ đo cần giảm không quá (3 ¸5) kG/cm2.

g. Xả khí trong hệ thống

Để xả khí trong hệ thống cần:

+ Tháo chụp cao su van thông áp cơ cấu lái.

+ Nối chúng bằng ống cao su với một bình dầu chứa ít nhất 0,5 lít dầu.

+ Nới van thông áp (1/2 ¸ 3/4) vòng

+ Lắp nắp bầu dầu

4.3. Sửa chữa hệ thống lái

4.3.1. Hư hỏng thông thường, nguyên nhân và cách khắc phục hệ thống lái

Trong quá trình khai thác, sử dụng hệ thống lái thường gặp những hư hỏng như mòn, hỏng các chi tiết, thiếu dầu bôi trơn…Bảng 4.1 trình bày một số hiện tượng hư hỏng thường gặp cũng như nguyên nhân và cách khắc phục những hỏng hóc đó.

4.3.2. Một số hư hỏng chi tiết của các cụm trong hệ thống lái

a. Một số hư hỏng với cơ cấu lái:

* Mài mòn cơ cấu lái

Cơ cấu lái là một cụm đảm nhận tỷ số truyền rất lớn trong hệ thống lái. Thông thường tỷ số truyền ở ô tô con nằm trong khoảng 14 ÷ 23, ở ô tô tải và ô tô buýt khoảng 18 ÷ 32. Do vậy trên các chỗ làm việc của cơ cấu lái bị mài mòn khá nhanh, mặc dù trong chế tạo đó cố gắng sử dụng vật liệu có độ bền cao và có khả năng chịu mài mòn tốt. Cơ cấu lái thường là kết cấu cơ khí nên luôn luôn tồn tại các khe hở ban đầu. Khi ô tô còn mới, khe hở ban đầu trong cơ cấu lái đó tạo nên góc rơ vành lái, góc rơ này đã được các tiêu chuẩn kỹ thuật hạn chế tới mức tối thiểu để đảm bảo khả năng nhanh chóng điều khiển xe chuyển hướng khi cần thiết, chúng ta thường dùng với khái niệm "độ rơ vành lái".

* Rạn nứt gẫy trong cơ cấu lái

Sự làm việc nặng nề trước tải trọng va đập có thể dẫn tới rạn nứt gẫy trong cơ cấu lái. Các hiện tượng phổ biến là: rạn nứt chân răng, gẫy răng. Các hư hỏng này có thể làm cho cơ cấu lái khi làm việc có thể gây nặng đột biến tại các chỗ rạn nứt gẫy. Các mài mòn tiếp theo tạo nên các hạt mài có kích thước lớn làm kẹt cơ cấu hoặc tăng nhanh tốc độ mài mòn cơ cấu lái.

* Rơ lỏng các liên kết vỏ cơ cấu lái với khung, vỏ xe

Cơ cấu lái liên kết với khung vỏ xe nhờ các liên kết bằng mối ghép bu lông, êcu. Các liên kết này lâu ngày có hiện tượng tự nới lỏng. Nếu không kịp thời vặn chặt thì có thể gây nên hiện tượng tăng độ rơ vành lái, khi thay đổi chiều chuyển hướng có thể gây nên tiếng va mạnh, quá trình điều khiển xe mất chính xác.

b. Hư hỏng với dẫn động lái

*Đối với phần dẫn động lái cơ khí

Những hư hỏng chính thường gặp là:

+ Mòn, rơ lỏng các khớp cầu, khớp trụ:

Trong sử dụng các khớp cầu, khớp trụ thường là các chi tiết có kích thước nhỏ, làm việc trong trạng thái bôi trơn bằng mỡ, tính chất chịu tải va đập thường xuyên, luôn luôn phải xoay tương đối với đệm hoặc vỏ, dễ bị bụi bẩn bám vào do vậy rất hay bị mài mòn.

+ Hư hỏng ốc hạn chế quay bánh xe dẫn hướng

Các ốc hạn chế sự quay của bánh xe dẫn hướng thường đặt ở khu vực bánh xe, do vậy khi quay vòng ở góc quay lớn nhất, tải trọng va đập trực tiếp lên ốc hạn chế, có thể gây nên lỏng ốc, cong thân ốc. Sự nguy hiểm là khi phải thay đổi góc quay bánh xe ở tốc độ cao sẽ có thể gây lật xe. 

*Hư hỏng đối với phần trợ lực

+ Hư hỏng trong nguồn năng lượng trợ lực (thuỷ lực, khí nén)

Dạng hư hỏng phổ biến là mòn bơm thủy lực hay bơm khí nén.

Sự mòn bơm thủy lực sẽ dẫn tới thiếu áp suất làm việc hay tăng chậm áp suất làm việc. Do vậy khi đánh lái mà động cơ làm việc ở số vòng quay nhỏ thì lực trên vành lái gia tăng đáng kể, còn khi động cơ làm việc ở số vòng quay cao thì trợ lực có hiệu quả rõ rệt.

+ Sai lệch vị trí của van điều tiết áp suất và lưu lượng, các cụm van này thường lắp ngay trên thân bơm, do làm việc lâu ngày các van này bị rỉ, bị kẹt hay quá mòn. Giải pháp tốt nhất là kiểm tra áp suất sau bơm thủy lực.

+ Sự cố trong van phân phối dầu

KẾT LUẬN

Sau một thời gian nghiên cứu tham khảo tài liệu, với sự nỗ lực của bản thân và sự  giúp đỡ của thầy hướng  dẫn : PGS.TS …………….- Bộ môn Xe ô tô - Viện Cơ khí động và các bạn cùng lớp tôi đã hoàn thành đồ án. Trong đồ án này tôi đã thực hiện các nội dung cơ bản sau:

1. Tìm hiểu về xe KAMAZ – 53229.

2. Phân tích các đặc điểm kết cấu và nguyên lý làm việc của hệ thống lái  xe KAMAZ – 53229.

3. Đồ án trình bày trình tự, phương pháp tính toán kiểm nghiệm động học hình thang lái bằng phương pháp hình học và phương pháp đại số. Tính bền cho một số chi tiết cơ bản của hệ thống lái xe KAMAZ – 53229.

4. Tìm hiểu những lưu ý về một số yêu cầu chung, chế độ bảo dưỡng, kiểm tra, điều chỉnh và cách khắc phục các hư hỏng thông thường của hệ thống lái xe KAMAZ – 53229  trong quá trình sử dụng.

Qua việc phân tích đặc điểm kết cấu, kiểm tra động học của xe KAMAZ – 53229 và tính bền cho một số chi tiết cơ bản của hệ thống lái tôi thấy:

Hệ thống lái trên  xe KAMAZ – 53229 là  hệ thống lái cơ khí có trợ lực thủy lực, cơ cấu lái kiểu vít đai ốc - thanh răng cung răng, có tỷ số truyền cao. Việc bố trí hệ thống lái theo một sơ đồ bố trí tương đối phổ biến, được sử dụng trên nhiều loại xe. Kết cấu cơ cấu lái nhỏ gọn, khả năng chống mòn của các chi tiết trong cơ cấu lái cao. Bảo dưỡng sửa chữa dễ dàng, độ tin cậy cao. Tuy nhiên trong kết cấu có nhiều đặc điểm đặc biệt đòi hỏi người sử dụng phải nắm chắc trong quá trình khai thác sử dụng xe. Nhờ sự bố trí phần trợ lực thủy lực trong hệ thống lái, đã làm giảm đi cường độ lao động của người lái và đảm bảo an toàn cho xe khi hoạt động trên đường.

Trong đồ án này tôi đã tiến hành kiểm nghiệm động học hình thang lái, đưa ra trình tự tính toán một số chi tiết trong dẫn động lái xe KAMAZ – 53229. Trình tự tính toán hợp lý, kết quả tương đối phù hợp với thực tế, giá trị các thông số đảm bảo theo tiêu chuẩn. Song ta vẫn thấy khi ô tô quay vòng các bánh xe dẫn hướng còn có hiện tượng trượt bên nhưng sự trượt bên là nhỏ, vẫn có thể sử dụng được.

Bản thân tôi đã cố gắng trong việc tìm kiếm tài liệu và khảo sát các xe tương tự để hoàn thành nhiệm vụ được giao, tuy nhiên do khả năng và thời gian có hạn nên đồ án không tránh khỏi được thiếu sót. Rất mong các thầy và các bạn đóng góp ý kiến.

Xin chân thành cảm ơn!

                                                                                                                                     Hà Nội, ngày … tháng … năm 20…

                                                                                                                                    Học viên thực hiện

                                                                                                                                ………………

TÀI LIỆU THAM KHẢO

[1]. Vũ Đức Lập. Hướng dẫn thiết kế đồ án môn học “ Kết cấu tính toán ô tô quân sự’’ . Tập IV - Hệ thống lái. HVKTQS – 1998.

[2]. Vũ Đức Lập. Cấu tạo ô tô quân sự tập 1-2. HVKTQS – 2000.

[3]. Vũ Đức Lập, Nguyễn Phúc Hiểu. Lý thuyết ô tô quân sự.NXBQĐND–2002.

[4]. Vũ Đức Lập. Sổ tay tra cứu tính năng kỹ thuật ô tô. HVKTQS – 2003.

[6]. Hoàng Đình Long. Giáo trình kỹ thuật sữa chữa ô tô. NXBGD – 2005.

[7]. Vũ Đức Lập, Nguyễn Sỹ Đỉnh. Cấu tạo ô tô quân sự, tập 2. NXB Quân đội nhân dân 2015.

[8]. Nguyễn Hoàng Nam. Cơ sở khai thác xe quân sự tập 1–2. HVKTQS–2003.

[9]. Đỗ Quyết Thắng. Chi tiết máy tập II. HVKTQS–1994.

"TẢI VỀ ĐỂ XEM ĐẦY ĐỦ ĐỒ ÁN"