ĐỒ ÁN THIẾT KẾ HỆ THỐNG LÁI TRÊN XE THAM KHẢO TOYOTA INNOVA 2016

Mã đồ án OTTN003021841
Đánh giá: 5.0
Mô tả đồ án

     Đồ án có dung lượng 360MB. Bao gồm đầy đủ các file như: File bản vẽ cad 2D (Bản vẽ sơ đồ hệ thống lái trên xe Toyota innova, bản vẽ kết cấu cơ cấu lái, bản vẽ kết cấu van phân phối, bản vẽ nguyên lý trợ lực lái, bản vẽ quy trình công nghệ bảo dưỡng kỹ thuật hệ thống lái trên xe Toyota innova); file word (Bản thuyết minh, bản trình chiếu bảo vệ Power point…). Ngoài ra còn cung cấp rất nhiều các tài liệu chuyên ngành, các tài liệu phục vụ cho thiết kế đồ án........... THIẾT KẾ HỆ THỐNG LÁI TRÊN XE THAM KHẢO TOYOTA INNOVA 2016.

Giá: 1,050,000 VND
Nội dung tóm tắt

MỤC LỤC

MỤC LỤC...1

LỜI NÓI ĐẦU.. 3

CHƯƠNG I: TỔNG QUAN HỆ THỐNG LÁI. 4

1.1.Nhiệm vụ,yêu cầu ,phân loại hệ thống lái 4

1.1.1. Công dụng hệ thống lái 4

1.1.2. Phân loại hệ thống lái 4

1.1.3. Yêu cầu hệ thống lái 5

1.2. Kết cấu hệ thống lái thường dùng trên ô tô. 6

1.2.1. Hệ thống lái với cơ cấu trục vít - cung răng. 6

1.2.2. Hệ thống lái với cơ cấu trục vít - con lăn. 7

1.2.3. Hệ thống lái với cơ cấu trục vít - chốt quay. 9

1.2.4. Hệ thống lái với cơ cấu liên hợp. 9

1.2.5. Hệ thống lái với cơ cấu bánh răng - thanh răng. 11

CHƯƠNG 2: PHÂN TÍCH LỰA CHỌN PHƯƠNG ÁN THIẾT KẾ HỆ THỐNG LÁI DỰA TRÊN XE THAM KHẢO.. 13

2.1. Giới thiệu xe tham khảo toyota innova 2016 : 13

2.2. Động cơ sử dụng trên toyota innova 2016. 18

2.3. Cấu tạo và các phần tử chủ yếu của hệ thống lái. 19

2.3.1. Sơ đồ bố trí chung hệ thống lái 19

2.3.2. Cấu tạo các phần tử hệ thống lái 20

2.3.3. Trợ lực lái 26

2.4. Phân tích lựa chọn phương án thiết kế. 31

2.4.1. Phương án lựa chọn dẫn động lái 31

2.4.2. Phương án lựa chọn cơ cấu lái 32

2.4.3. Phương án lựa chọn trợ lực lái 33

2.4.4.Các số liệu tham khảo và chọn các thông số. 35

CHƯƠNG 3 : TÍNH TOÁN THIẾT KẾ HỆ THỐNG LÁI. 36

3.1. Xác định và phân phối tỷ số truyền của hệ thống lái. 36

3.2. Xác định lực tác dụng lên vành tay lái. 36

3.3. Xác định các thông số cơ bản của hình thang lái. 40

3.3.1. Xác đinh đường đặc tính lý thuyết. 42

3.3.2. Xây dựng đường cong đặc tính hình thang lái thực tế. 43

3.4. Thiết kế cơ cấu lái . 46

3.4.1. Chọn vật liệu. 46

3.4.2.Xác định kích thước và thông số của  thanh răng. 47

3.4.3. Tính toán các thông số cơ bản của bộ truyền bánh răng: 48

3.4.4. Tính bền cơ cấu bánh răng – thanh răng. 48

3.5. Thiết kế kêt cấu và kiểm tra dẫn động lái. 51

3.5.1. Tính bền đòn kéo ngang. 51

3.5.2. Tính bền thanh nối bên dẫn động lái. 53

3.6. Xác định các thông số cơ bản của trợ lực lái. 53

3.6.1. Mômen  cản mà trợ lực cần phải khắc phục. 54

3.6.2. Chỉ số hiệu quả tác dụng của trợ lực. 54

3.6.3. Xây dựng đặc tính trợ lực lái. 55

3.6.4. Thiết kế trợ lực lái. 56

3.7. Bảo dưỡng sửa chữa các hư hỏng trên hệ thông lái 58

3.7.1. Quy trình tháo hệ thống lái 58

3.7.2. Quy trình lắp hệ thống lái 65

3.7.3. Bảo dưỡng hệ thống lái 66

3.7.4. Một số hư hỏng và biện pháp khắc phục hệ thống lái 68

KẾT LUẬN.. 71

TÀI LIỆU THAM KHẢO.. 72

CHƯƠNG I: TỔNG QUAN HỆ THỐNG LÁI

1.1. Nhiệm vụ,yêu cầu ,phân loại hệ thống lái

1.1.1. Công dụng hệ thống lái

Hệ thống lái là hệ thống điều khiển hướng chuyển động của xe, đảm bảo giữ nguyên hoặc thay đổi điều khiển, thông qua các cơ cấu dẫn động thực hiện điều khiển các bánh xe chuyển động theo quỹ đạo mong muốn việc điều khiển này phải đảm bảo tính linh hoạt nhanh chóng và chính xác. hướng chuyển động của ô tô ở một vị trí nào đó.

1.1.2. Phân loại hệ thống lái

Hệ thống lái có thể phân loại theo nhiều cách khác nhau:

- Theo phương pháp chuyển hướng:

+ Chuyển hướng bánh xe dẫn hướng phía trước.

+ Chuyển hướng tất cả các bánh xe dẫn hướng phía trước, phía sau.

- Theo cách bố trí vành tay lái:

+ Bố trí vành tay lái bên trái (đối với các nước có luật giao thông quy định chiều chuyển động bên phải).

+ Bố trí vành tay lái bên phải (khi chiều chuyển động bên trái như ở nước ANH, NHẬT,.....

- Theo đặc điểm truyền lực:

+ Hệ thống lái cơ khí.

+ Hệ thống lái cơ khí có trợ lực.

1.1.3. Yêu cầu hệ thống lái

- Tính linh hoạt tốt: Khi xe quay vòng trên đường gấp khúc và hẹp thì hệ thống lái phải xoay được bánh trước chắc chắn, dễ dàng và êm dịu.

- Lái nhẹ (lực tác dụng lên vành tay lái bé).

- Đảm bảo động lực học quay vòng đúng để bánh xe dẫn hướng không bị trượt khi quay vòng.

1.2. Kết cấu hệ thống lái thường dùng trên ô tô

1.2.1. Hệ thống lái với cơ cấu trục vít - cung răng

Loại này có ưu điểm là kết cấu đơn giản, làm việc bền vững. Tuy vậy có nhược điểm là hiệu suất thấp, điều chỉnh khe hở ăn khớp phức tạp nếu bố trí cung răng ở mặt phẳng đi qua trục trục vít.

Ngoài ra còn cho phép tăng góc quay của cung răng mà không cần tăng chiều dài của trục vít.

Góc nâng của đường ren vít thường từ 8 ÷ 120. Khe hở ăn khớp khi quay đòn quay đứng từ vị trí trung gian đến các vị trí biên thay đổi từ 0,03 ÷ 0,05 mm. Sự thay đổi khe hở này được đảm bảo nhờ mặt sinh trục vít và vòng tròn cơ sở của cung răng có bán kính khác nhau.

1.2.2. Hệ thống lái với cơ cấu trục vít - con lăn 

Cơ cấu lái loại trục vít - con lăn (hình 1.2) được sử dụng rộng rãi trên các loại ô tô do có ưu điểm:

- Kết cấu gọn nhẹ;

- Hiệu suất cao do thay thế ma sát trượt bằng ma sát lăn;

- Hiệu suất thuận: ηt = 0,77 - 0,82;

- Hiệu suất nghịch: ηn = 0,6;

1.2.3. Hệ thống lái với cơ cấu trục vít - chốt quay

Ưu điểm: có thể thiết kế với tỷ số truyền thay đổi, theo quy luật bất kỳ nhờ cách chế tạo bước răng trục vít khác nhau.

1.2.5. Hệ thống lái với cơ cấu bánh răng - thanh răng

Bánh răng có thể răng thẳng hay răng nghiêng. Thanh răng trượt trong các ống dẩn hướng. Để đảm bảo ăn khớp không khe hở, bánh răng được ép đến thanh răng bằng lò xo.

CHƯƠNG 2: PHÂN TÍCH LỰA CHỌN PHƯƠNG ÁN THIẾT KẾ HỆ THỐNG LÁI DỰA TRÊN XE THAM KHẢO

2.1. Giới thiệu xe tham khảo toyota innova 2016 

Thật khó để nhận ra sự khác biệt rõ nhất của 3 phiên bản bởi Toyota luôn hướng đến sự hoàn thiện tuyệt đối nhất cho bất kỳ dòng xe nào, bất kỳ phiên bản nào. Phần đầu xe phiên bản G 2.0 thể hiện sự mạnh mẽ, năng động, trẻ trung với lưới tản nhiệt đậm phong cách thể thao, rất chuyên nghiệp. Những đường gân nổi dọc lên phần đầu tạo ra những hình ảnh bắt mắt và chuyên nghiệp nhất định.

Ngoài ra, điểm mới trên Xe Toyota Innova 2.0 G số tự động là được trang bị chìa khóa chống trộm thông minh mà phiên bản cũ chưa từng có. Giúp gia chủ yên tâm trên mọi nẻo đường.

Thông số kỹ thuật xe INNOVA như bảng 1.1.

2.2. Động cơ sử dụng trên toyota innova 2016.

Tại thị trường Việt Nam, Toyota Innova 2016 được trang bị động cơ xăng VVT-i 2.0L, công suất 136,8 mã lực tại 5.600 vòng/phút, mô-men xoắn cực đại 183 Nm tại 4.000 vòng/phút, đi kèm hộp số sàn 5 cấp hoặc hộp số tự động 6 cấp.

Mô-men xoắn tầm trung trong động cơ mới cũng được nâng cấp so với trên phiên bản cũ. Tất cả giúp cho Innova 2016 đạt được hiệu suất vận hành hoàn hảo hơn, cùng với đó là khả năng tiết kiệm nhiên tiệu đáng kể, đúng với tiêu chí ban đầu mà Toyota đặt ra cho phiên bản mới.

2.3. Cấu tạo và các phần tử chủ yếu của hệ thống lái.

2.3.1. Sơ đồ bố trí chung hệ thống lái

a. Sơ đồ bố trí chung hệ thống lái trên hệ thống treo phụ thuộc.

Trong trường hợp tổng quát, hệ thống lái gồm có vành lái - trục lái, cơ cấu lái hệ dẫn động lái, bộ phận trợ lực lái, giảm chấn (nếu có).

b. Sơ đồ bố trí chung hệ thống lái trên hệ thống treo độc lập.

Trên hệ thống treo độc lập hai bên bánh xe dịch chuyển độc lập nhau, do vậy dẫn động lái phải đảm bảo không ảnh hưởng đến khả năng dịch chuyển của hệ thống treo đồng thời vẫn đảm bảo chuyển hướng được các bánh xe dẫn hướng ở hai bên trên cầu trước.

2.3.2. Cấu tạo các phần tử hệ thống lái

a. Vành tay lái và trục lái:

Vành tay lái có nhiệm vụ tạo ra mômen điều khiển tác động lên hệ thống lái. Mômen điều khiển này có giá trị bằng lực người lái tác động nhân với bán kính vành lái.

b. Cơ cấu lái:

Chuyển đổi mômen lái và góc quay từ vô lăng truyền tới bánh xe thông qua thanh dẫn động lái và xe quay vòng. Cơ cấu lái được bắt chặt với thân xe

Các loại cơ cấu lái thường được sử dụng:

- Cơ cấu lái trục vít chốt quay:

Cơ cấu lái trục vít chốt quay có thể thay đổi tỷ số truyền theo yêu cầu cho trước. Để tăng hiệu suất của cơ cấu lái, giảm độ mòn của trục vít và chốt quay thì chốt được đặt trong ổ bi.

- Cơ cấu lái trục vít con lăn:

Trên các loại xe trước kia, cơ cấu lái này thường được dùng rộng rãi trên các loại ô tô với những ưu điểm: cho tỷ số truyền lớn, kết cấu đơn giản, dễ bảo dưỡng sửa chữa, dễ bảo dưỡng sửa chữa giá thành thấp. Nhược điểm là khó khăn cho việc bố trí trợ lực lái.

- Cơ cấu lái bánh răng - thanh răng :

Thay đổi chuyển động quay của vôlăng thành chuyển động sang trái hay phải của thanh răng.

Ưu điểm:

+  Cấu tạo đơn giản, gọn nhẹ.

+ Do hộp truyền động nhỏ nên thanh răng đóng vai trò thanh dẫn động lái.

+ Các răng ăn khớp trực tiếp nên độ nhạy của cơ cấu lái rất chắc chắn.

c. Hệ dẫn động lái:

 Hệ dẫn động lái đảm nhận chức năng nhận chuyển động từ cơ cấu lái đến bánh xe dẫn hướng, đảm bảo quan hệ giữa các góc quay của bánh xe dẫn hướng khi thực hiện quay vòng để không xẩy ra sự trượt bên ở tất cả các bánh xe đồng thời tạo nên liên kết giữa các bánh xe dẫn hướng.

d. Các mối ghép của dẫn động lái:

Để giảm trọng lượng và tiết kiệm nguyên vật liệu chế tạo, các đòn dẫn động lái thường được làm rỗng. Các khớp liên kết trong dẫn động lái đều là khớp cầu, đảm bảo khả năng tự lựa, không có khoảng hở.

2.3.3. Trợ lực lái

a. Công dụng:

Giảm nhẹ sức lao động của người lái trong việc điều khiển hướng chuyển động của xe, đặc biệt với những xe có tải trọng lớn có mô men cản quay vòng lớn.Trợ lực lái còn có ý nghĩa nâng cao an toàn chuyển động khi có sự cố xẩy ra ở bánh xe ( nổ lốp, áp suất lốp quá thấp...) làm giảm tải trọng va đập truyền lên vành lái, tăng tính tiện nghi và êm dịu trong điều khiển.

b. Phân loại:

Hệ thống trợ lực được phân loại theo:

- Phương pháp trợ lực:

+ Trợ lực thủy lực

+ Trợ lực khí nén

- Theo kết cấu và nguyên lý của van phân phối:

+ Hệ thống trợ lực kiểu van ống

+ Hệ thống trợ lực kiểu van quay

2.4. Phân tích lựa chọn phương án thiết kế

2.4.1. Phương án lựa chọn dẫn động lái

Dẫn động lái gồm tất cả các chi tiết truyền lực từ cơ cấu lái đến ngỗng quay của tất cả các bánh xe dẫn hướng khi quay vòng.

Phần tử cơ bản của dẫn động lái là hình thang lái, nó được tạo bởi cầu trước, đòn kéo ngang và các đòn bên. Sự quay vòng của ô tô rất phức tạp, để đảm bảo đúng mối quan hệ động học của các bánh xe phía trong và phía ngoài khi quay vòng là một điều khó thực hiện vì phải cần đến dẫn động lái 18 khâu.

2.4.2. Phương án lựa chọn cơ cấu lái

Dựa vào đặc điểm kết cấu và ưu nhược điểm của từng loại cơ cấu lái đã giới thiệu ở trên, em lựa chọn phương án thiết kế hệ thống lái với cơ cấu lái đơn giản là cơ cấu bánh răng - thanh răng, với cơ cấu này thanh răng được lấy luôn là 1 khâu của hình thang lái.

2.4.3. Phương án lựa chọn trợ lực lái

Trên các xe ô tô tải trọng lớn, xe du lịch cao cấp và các xe khách hay máy kéo hiện đại thường có trang bị trợ lực lái để:

- Giảm nhẹ lao động cho người lái;

- Tăng an toàn cho chuyển động khi xe có sự cố ở bánh xe như nổ lốp, hết khí nén trong lốp và giảm va đập truyền từ bánh xe lên vành tay lái;

- Khi xe đang chạy một tốc độ lớn mà một bên lốp bị thủng, trợ lực lái đảm bảo cho người lái đủ sức điều khiển, giữ được ô tô trên đường mà không bị lao sang một bên.

Trợ lực lái thủy lực được dùng phổ biến nhất trên các xe du lịch vì có kết cấu nhỏ gọn và làm việc khá tin cậy.

Với đề tài “Tính toán thiết kế hệ thống lái cho xe Toyota Innova 2016”, em chọn phương án thiết kế hệ thống lái có trợ lực thủy lực với cơ cấu lái kiểu bánh răng - thanh răng và dẫn động lái 4 khâu.

Ta có sơ đồ bố trí chung của hệ thống lái cần thiết kế như hình 2.20.

2.4.4. Các số liệu tham khảo và chọn các thông số.

Các số liệu tham khảo và chọn các thông số như bảng 2.2.

CHƯƠNG 3 : TÍNH TOÁN THIẾT KẾ HỆ THỐNG LÁI

3.1. Xác định và phân phối tỷ số truyền của hệ thống lái.

Với xe tham khảo là xe du lịch có bố trí trợ lực lái nên tỷ số truyền của hệ thống lái i= 18  25, vì tỷ số truyền của dẫn động lái ta chọn i = 1 nên ta chọn tỷ số truyền của cơ cấu lái cần thiết kế là icc = 20,4. Tỉ số truyền của hệ thống lái xác định theo công thức:

il = i.icc  = 1.20,4 = 20,4.

3.2. Xác định lực tác dụng lên vành tay lái.

M = M1 + M2 + M3

Mômen cản lăn được xác định theo công thức 11.6 [1] :

M1 = Gbx.f.a

=> M1 = Gbx.f.a = 6930 . 0,02 . 0,05 = 6,93 (Nm)

Khi mômen quay vòng tác dụng lên bánh xe, tại khu vực tiếp xúc giữa bánh xe và mặt đường sẽ xuất hiện lực ngang Y. Do lốp có tính đàn hồi nên lực Y làm vết tiếp xúc bị lệch so với trục bánh xe như hình vẽ và vì vậy lực này nằm cách trục bánh xe 1 đoạn x. Điểm đặt lực ngang Y được thừa nhận bằng 1/4 chiều dài của bề mặt tiếp xúc giữa lốp với đường về phía sau

Như vậy mômen ma sát giữa bánh xe và đường có thể được tính như sau:

M2 = Y.x = Gbx.j.x = 0,14.Gbx. .j.r

Với là j  hệ số bám ngang, lấy j = 0,85

Vậy:

M2 = Y.x = Gbx.j.x = 6930 . 0,85 . 0,14 . 0,395 = 325,74 (Nm)

Mômen ổn định M3 do các góc đặt bánh xe và trụ đứng gây nên, việc tính toán mômen này tương đối phức tạp, nên trong khi tính toán có thể thay thế M3 bằng một hệ số α . Khi đó mômen cản quay vòng tại 1 bánh xe dẫn hướng được tính theo công thức  :

M= (M1+ M2). α = Gbx.(¦.a + 0,14. j.r). α

 Với α = 1,07 - 1,15.

hth : hiệu suất thuận của cơ cấu lái, hth = 0,9.

hcam : hiệu suất tính đến ma sát ở các cam quay, hcam = 0,65.

=>hå= 0,9.0,65 = 0,585.

=> Pmax = 377,4 N

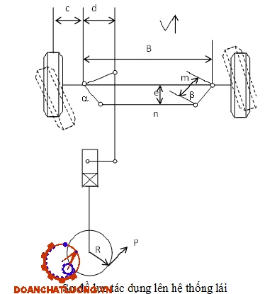
3.3. Xác định các thông số cơ bản của hình thang lái.

Nhiệm vụ của tính toán động học dẫn động lái là xác định những thông số tối ưu của hình thang lái để đảm bảo động học quay vòng của các bánh xe dẫn hướng một cách chính xác nhất và động học của đòn quay đứng, khi có biến dạng  của bộ phận đàn hồi hệ thống treo và chọn các thông số cần thiết của hệ thống  truyền dẫn động lái.

Để đảm bảo điều kiện quay vòng đúng, trên xe sử dụng cơ cấu hình thang lái 4 khâu gọi là hình thang lái ĐAN TÔ chỉ áp dụng gần đúng điều kiện trên, song do kết cấu đơn giản nên được dùng rất phổ biến.

Từ sơ đồ dẫn động lái trên hình 2.4 ta có thể tính được mối quan hệ giữa các thông  số theo các biểu thức sau:

n = B – 2.m.cosq(2-2)

3.3.1. Xác đinh đường đặc tính lý thuyết.

Trên hệ trục tọa độ Đề các aOb ta xác định được đường cong đặc tính lý thuyết qua quan hệ b = f(q,x).

=> Cotgb = Cotga + 0,5

Ứng với các giá trị của a từ 0o, 5o, 35o, 40o lần lượt ta có các giá trị tương ứng của b. Các giá trị này được tính theo EXCEL.

3.3.2. Xây dựng đường cong đặc tính hình thang lái thực tế.

Để xây dựng đường cong đặc tính hình thang lái thực tế ta phải xây dựng được đường cong biểu thị hàm số a = f(q,b). Theo mối quan hệ này thì nếu biết trước một góc q nào đó ứng với một giá trị của góc b thì ta có 1 giá trị của góc a. 

L : Chiều dài cơ sở của xe; L = 2750 (mm).

B : Khoảng các giữa tâm hai trụ đứng của cầu dẫn hướng, B = 1370 (mm).

q : Góc tạo bởi đòn bên hình thang lái và phương ngang.

m : Chiều dài đòn bên hình thang lái, m thường lấy theo kinh nghiệm: m = (0,14-0,16).B

=> chọn m = 0,15.B  =  0,15.1370 = 205,5 (mm)

- Chọn sơ bộ góc q ban đầu theo E.A Chuđakốp

Cotg(90o -q)= B/2.0,7.L = 0,035

=> q = 20o

Cho qcác giá trị xung quanh giá trị sơ bộ (q=20o) và dựa vào công thức b để tìm ra quan hệ thực tế giữa b, a.

=> Cho q= 18o, 19o, 20o,  21o.

Thông số cầu dẫn hướng là: q = 180

Độ dài đòn bên : m= 205,5  (mm)

Độ dài thanh kéo ngang là :

n = B - 2.m.cosq = 1370-2.205,5.cos180=979,1(mm).

3.4. Thiết kế cơ cấu lái .

Mômen xoắn trên thanh răng (Tt.răng ) = mômen cản (Mc = 1126 N.m)

Hiệu suất của cơ cấu bánh răng – thanh răng là η = 0,8

Mô men xoắn trên bánh răng theo:

Tb.răng = Tt.răng/η=1126/0,8 = 1407,5 (N.m) (2_5)

+ Vật liệu làm thanh răng: thép 30XH được tôi cải thiện

+ Vật liệu làm bánh răng: Thép 45, tôi bề mặt đạt độ rắn HRC 45

3.4.2. Xác định kích thước và thông số của  thanh răng.

Thay các thông số vào công thức (2_13) ta được : d = 25,4 (mm). Chọn dtr= 30 mm.

- Chiều dài đoạn làm việc của thanh răng : L = 202 (mm) 

 - Môđun thanh răng là : m = 2,5 mm.

- Bước răng t = 3,14.2,5 = 7,85 (mm)(2_7)

- Chiều cao của răng thanh răng h = 2,5.m = 2,5.2,5 = 6,25 (mm) (2_8)

- Khoảng cách giữa 2 răng liên tiếp của thanh răng :

 y = L/Z = 202/26 = 7,77(2_10)

-  b : Góc nghiêng  của răng (hợp với phương ngang).

tgb = dtr/y = 30/7,77 = 3,86. → b =arctg3,86 = 75,4o.  Lấy b = 75o

Vậy góc nghiêng của răng b = 90o-75o = 15o.

3.4.3. Tính toán các thông số cơ bản của bộ truyền bánh răng:

- Mô đun của bánh răng chọn theo tiêu chuẩn, m = 2,5.

- Hệ số đường kính trục chọn theo bảng 7.3 [3]. q =8.

- Đường kính vòng chia: db.r = q.m = 8.2,5 = 20 (mm)(2_11)

- Đường kính vòng đỉnh: da = m.(q + 2) = 2,5.(8+2) = 25 (mm)(2_12)

- Đường kính vòng đáy: df = m.(q - 2,4) = 2,5.(8 -2,4) = 14 (mm)    (2_13)

3.4.4. Tính bền cơ cấu bánh răng – thanh răng.

Trong quá trình làm việc thanh răng chịu ứng suất uốn tiếp xúc và chịu tải trọng va đập từ mặt đường. Vì vậy thường gây ra hiện tượng rạn nứt chân răng. Do ảnh hưởng lớn tới sự tin cậy và tuổi thọ của cơ cấu lái. 

Vậy điều kiện bền được thoả mãn Þ Bộ truyền bánh răng - thanh răng đảm bảo đủ bền trong quá trình làm việc.

3.5. Thiết kế kêt cấu và kiểm tra dẫn động lái.

3.5.1. Tính bền đòn kéo ngang.

Trong qua trình làm việc đòn kéo ngang chỉ chịu kéo nén theo phương dọc trục.Đòn ngang được kiểm tra theo uốn dọc do lực N gây ra. 

G1: Khối lượng phân bố lên trục trước. G1 = 13860 N

Xp: lực phanh tác dụng lên một bánh xe.

m1p :  hệ số phân bố lại trọng lượng lên cầu dẫn hướng khi phanh (m1p=1,4).

Đòn kéo ngang được chế tạo bằng théo ống CT20 có đường kính trong và ngoài lần lượt là D = 20 mm; d = 10 mm  

Fn : tiết diện ngang của đòn kéo ngang.

Fn  =  235,5 mm2            (2_30)

 Mặt khác : [sb] = 350 (KG/cm2) = 35 (N/mm2).

Thay số vào phương trình (2_27) ta được:

en = 36,3 (N/mm2)

=> en < [eb]

Vậy đòn kéo ngang đảm bảo điều kiện bền và ổn định.

3.5.2. Tính bền thanh nối bên dẫn động lái.

Để đảm bảo an toàn và tính ổn định của quá trình làm việc, đòn bên được làm bằng thép 20X. Đòn bên của dẫn động lái chủ yếu chịu ứng suất uốn. Do vậy ta tính theo điều kiện bền uốn:

Mômen uốn tác dụng lên đòn bên được xác định theo công thức sau:

Mu = m.Ncos                            (2_31)

Ta tính bền cho đòn bên của hình thang lái cầu dẫn hướng:

Mu = m.Ncos  = 205,5.8556,09.cos180 =1672220,3(N.mm)

=> Thoả mãn điều kiện bền uốn.

3.6. Xác định các thông số cơ bản của trợ lực lái.

Mặt khác đối với xe du lịch thì công trung bình giới hạn:

Lực cực đại đặt lên vành tay lái khi có cường hóa, ta chọn PVLo = 90N.

Từ đó ta tính được phần trăm trợ lực là : 76,1%

3.6.1. Mômen  cản mà trợ lực cần phải khắc phục.

Đối với ôtô du lịch ngày nay giá trị này thường nằm trong khoảng từ  (20N - 40N). Đối với xe thiết kế ta chọn Po = 30N. 

Ta có:

MZ: Mômen cản khi trục lái dịch chuyển, giá trị này nhỏ, lấy Mz = 1.

MQ: Mômen cần thiết để xoắn thanh xoắn tới vị trí bắt đầu trợ lực.  

η0 : Hiệu suất từ vành tay lái tới van xoắn (Hiệu suất truyền lực). Chọn η0= 1.

i : Tỉ số truyền từ vành lái tới van. Chọn io = 1.

Vậy mômen cần thiết để bắt đầu mở trợ lực là : MO = MQ = 7,5 N.m.

Mômen cản mà cường hóa phải khắc phục là : Mkp = 855,76 N.m

3.6.3. Xây dựng đặc tính trợ lực lái.

 Mối quan hệ giữa lực mà người lái đặt lên vành tay lái Pl và mômen cản quay vòng của các bánh dẫn hướng Mc

Khi lực đặt lên vành tay lái lớn hơn 30N thì đường đặc tính đặc trưng cho hoạt động của cường hóa ở giai đoạn này cũng là đường bậc nhất nhưng có độ dốc thấp hơn so với đường đặc tính khi chưa có cường hóa (độ dốc này cần thiết phải có để đảm bảo cho người lái có cảm giác sức cản của mặt đường tác dụng lên vành tay lái). Khi mômen cản quay vòng lớn hơn Mc = 1126 (Nm) thì hệ thống lái làm việc như hệ thống lái cơ khí ban đầu (trợ lực đã làm việc hết khả năng). Cụ thể người lái muốn quay vòng ôtô thì phải  tác dụng một lực lên vành tay lái một lực Pl> Pc.

 Đồ thị các đường đặc tính khi chưa có trợ lực Pl = f(Mc), khi có trợ lực Pc=f(Mc)

Ta thấy rằng :

- Đoạn OA : Pl = Pc=f(Mc). Lực do người lái hoàn toàn điểm nhận.

- Đoạn AC : Pc=f(Mc). Biểu thị lực mà người lái cảm nhận về chất lượng mặt đường. Điểm C (1126; 90).

- Từ C trở đi : Pc=f(Mc) song song với đường Pl=f(Mc).

Nếu chọn Pc lớn thì quay riêng các bánh xe dẫn hướng tại chỗ sẽ nặng hơn, còn nếu chọn Pc qua nhỏ thì người lái sẽ không đủ cảm giác về chất lượng mặt đường

3.6.4. Thiết kế trợ lực lái.

3.6.4.1. Xác định đường kính trong của xilanh lực.

Với :    P = Pvlmax – Pvlo = 377,4 – 90 = 287,4.

ic : tỉ số truyền của cơ cấu lái. ic = 20,4.

u : Hiệu suất của cơ cấu lái. u = 0,9.

→ Px = 287,4.20,4.0,9 = 5276,6 (N)

Thay vào biểu thức (2_40) ta được:  Dxl = 5,36 cm Lấy Dxl = 5 (cm)

3.6.4.2. Chọn đường kính ngoài và kiểm tra bền xilanh lực.

Chọn chiều dày của thành xilanh là 8(mm) thì đường kính ngoài của xilanh lực là : Dn = 50 + 2.8 = 66 (mm)

3.6.4.3. Xác định năng suất của bơm.

Lưu lượng bơm xác định từ điều kiện làm thế nào để xilanh của trợ lực phải kịp làm quay các bánh xe dẫn hướng nhanh hơn sự quay vòng của vành tay lái do người lái gây ra, nếu không trợ lực sẽ không có tác dụng.

Tốc độ quay vòng (v/p) lớn nhất có thể đạt được là nv = 60 70 (v/p). Chọn nv = 60 (v/p). Vậy khi quay 1,5 vòng thì mất t = 1,5s, với chiều dài thanh răng dịch chuyển một đoạn là S = L/2 =202/2 = 101(mm) ứng với số vòng quay của vành lái n = 1,5 vòng.

Vậy năng suất của bơm là : Qb = 108,15 (cm3/s)

Thực tế thì lưu lượng bơm còn phải lớn hơn như vậy để bù vào sự rò rỉ của van phân phối. Lưu lượng rò rỉ là AQ = (0,05 0,1).Q. Chọn AQ= 0,08.Q.

→ Qtt  = 116,802 (cm3/s)

3.7. Bảo dưỡng sửa chữa các hư hỏng trên hệ thông lái

3.7.1. Quy trình tháo hệ thống lái

3.7.1.1. Tháo vành tay lái và trục lái

* Bước 1: Tháo các đầu cực của ăc quy ra để đảm bảo an toàn

* Bước 2: Tháo vành tay lái (hình 3.12)

* Bước 3: Tháo bộ điều khiển đèn xi nhan và bộ điều khiển gạt nước (hình 3.13 và 3.14).

Tháo kết nối giữa bộ điều khiển si nhan và trục lái bằng cách đẩy khoá trong hộp điều khiển (1), tháo đầu nối của dây điện với bộ điều khiển (2) rồi tháo bộ điều khiển ra khỏi trục lái. Bằng các thao tác tương tự ta tháo bộ điều khiển gạt nước.

* Bước 5: Tháo ổ khóa điện (hình 3.16)

Vặn khoá khởi động quay về vị trí số I (1), tháo ổ khoá điện bằng cách ấn vào định vị lò xo bằng clê lỗ 6 cạnh loại 2,5 mm (2) hoặc công cụ thích hợp khác, và kéo ổ khoá ra khỏi ống hộp điều khiển.

* Bước 6: Tháo hộp điều khiển (hình 3.17)

Tháo đầu nối điện của còi (1), tháo các vít giữ hộp điều khiển (2) rồi tháo hộp điều khiển.

3.7.1.2. Tháo cơ cấu lái và hình thang lái

* Bước 1: Tháo hai bánh xe của cầu trước (cầu dẫn hướng), rồi tháo mối ghép giữa đầu trục bánh răng trụ răng xoắn với trục trung gian.

* Bước 2: Tháo các liên kết của cụm cơ cấu lái (hình 3.21; 3.22; 3.23; 3.24).       

* Bước 3: Tháo bộ điều chỉnh ăn khớp bánh răng trụ răng xoắn và thanh răng (hình 4.14)

* Bước 5: Tháo thanh răng (hình 3.29)

Trước tiên tháo ống cao su che bụi thanh răng, để cho dễ tháo thì trước khi tháo bôi một lớp mỡ lên thanh kéo bên. Tiếp đó là tháo đầu thanh lái (3), nhưng trước khi tháo đầu thanh lái phải lấy dấu trên thanh kéo bên, đai ốc khóa đầu thanh lái và đầu thanh lái vị trí lắp ráp của chúng để sau này dễ dàng điều chỉnh độ chụm của xe, sau đó vặn đai ốc khoá ngược chiều kim đồng hồ, tháo đầu thanh nối rồi tháo đai ốc khóa. 

3.7.2. Quy trình lắp hệ thống lái

Quy trình lắp đặt ngược lại với quá trình tháo nhưng cần chú ý những điểm sau:

- Trước khi lắp đặt cần kiểm tra hư hỏng và sửa chữa hoặc thay thế nếu cần sau đó làm sạch tất cả các chi tiết và bôi trơn đầy đủ.

- Đối với những mối ghép có ren cần chú ý đến momen siết phù hợp tránh làm hỏng mối ghép.

3.7.3. Bảo dưỡng hệ thống lái

Thường xuyên kiểm tra siết chặt các bu lông, đai ốc ghép giữa các bộ phận của hệ thống lái với vỏ xe cũng như trong hệ thống lái và quan sát xem có sự rò rỉ dầu trợ lực lái sau mỗi lần xe vận hành.

3.7.4. Một số hư hỏng và biện pháp khắc phục hệ thống lái

Hệ thống lái trên xe luôn có thể xảy ra những hư hỏng làm mất khả năng điều khiển của xe. Do đó có thể gây ra nhiều tai nạn bất ngờ gây thiệt hại đến tính mạng tài sản của mọi người. Chính vì vậy mà việc thường xuyên kiểm tra phát hiện những hư hỏng của hệ thống lái là một việc rất cần thiết, bảo đảm tính an toàn khi sử dụng xe.

Một số hư hỏng và biện pháp khắc phục được thể hiện trong bảng 4.1

KẾT LUẬN

Sau 3 tháng nhận đề tài, với sự nỗ lực của bản thân và sự hướng dẫn, giúp đỡ rất nhiệt tình của thầy giáo: TS……………. nay em đã hoàn thành đồ án tốt nghiệp của mình. Đề tài đã thu được được một số kết quả sau:

- Tìm hiểu về hệ thống lái trên ô tô nói chung và trên ô tô Toyota inova nói riêng.

- Thiết kế cơ cấu lái bánh răng - thanh răng với trợ lực thủy lực dựa trên xe cơ sở Toyota inova.

- Tìm hiểu về công tác chẩn đoán, bảo dưỡng, sửa chữa hệ thống lái trên xe cơ sở Toyota inova.

Vì điều kiện thời gian có hạn. trình độ kinh nghiệm còn hạn chế mà khối lượng công việc lớn cho nên chất lượng đồ án còn hạn chế, còn nhiều thiếu sót trong phần tính toán. Rất mong sự đóng góp ý kiến của các thầy trong bộ môn để đồ án của em được hoàn chỉnh hơn.

Cuối cùng, em xin chân thành cảm ơn các thầy trong bộ môn cơ khí ô tô đã chỉ bảo em trong thời gian làm đồ án. Đặc biệt, em xin chân thành cảm ơn thầy giáo : TS……………. đã tận tình chỉ bảo em để em có thể hoàn thành đồ án này.                

Em xin chân thành cảm ơn!

TÀI LIỆU THAM KHẢO

[1].  Nguyễn Hữu Cẩn, Dư Quốc Thịnh, Phạm Minh Thái, Nguyễn Minh Tài (1998). thuyết ô tô, máy kéo. NXB Khoa học và kỹ thuật Hà Nội

[2]. Nguyễn Trọng Hiệp, Nguyễn Văn Lẫm (2004). Thiết kế chi tiết máy. NXB Giáo dục Hà Nội

[3]. PGS.TS Nguyễn Trọng Hoan (2007). Tập bài giảng Thiết kế tính toán ô tô. Trường Đại học Bách khoa Hà Nội

[4]. PGS.TS Nguyễn Khắc Trai (2006). Cơ sở thiết kế ô tô. NXB Giao thông vận tải

[5]. Nguyễn Hoàng Việt (1998). Kết cấu và tính toán ô tô. Khoa cơ khí giao thông -Trường Đại học Bách khoa Đà Nẵng

[6]. Nguyễn Khắc Trai, Nguyễn Trọng Hoan, Hồ Hữu Hải, Phạm Huy Hường, Nguyễn Văn Chưởng, Trịnh Minh Hoàng (2009). Kết cấu ô tô. NXB Bách khoa Hà Nội

"TẢI VỀ ĐỂ XEM ĐẦY ĐỦ ĐỒ ÁN"